Мк карман с листочкой для верхней одежды (ленивый вариант)
Ну наконец-то всё совпало, и я могу уже сделать МК по карману с листочкой, процесс которого отсняла ещё два месяца назад… Сразу оговорюсь, что я человек ленивый. Вернее немного не так: я всегда стараюсь максимально упростить любой процесс, чтобы делать как можно меньше телодвижений и сэкономить побольше времени и жизненной энергии.
Не всегда мои инновации сразу кажутся менее времязатратными, но, по крайней мере, в итоге получается проще и быстрее. Конкретно данный карман с листочкой отличается от классического варианта самой листочкой и тем, что при любом раскладе он получается с первого раза ровно и аккуратно.
Плюс вход в карман дополнительно укреплён и за счёт этого выдерживает все муки, которым дети обоих полов и взрослые мальчики-дядечки его подвергают (девочки-то со временем взрослеют и перестают носить в карманах гвозди и прочую хрень, да и просто лазить туда каждую секунду перестают, максимум перчатки-варежки в карман пихают – у нас вся жизнь в сумочку перемещается).
В общем, таки Карман с листочкой!
1.
Для начала надо определится, какого размера нужна листочка – будет она широкая, или всего 1см, чтобы молнию прикрыть… Я решила, что моя листочка будет шириной 2см и длиной 13. Теперь рисуем обтачку – в центре наша листочка 2 на 13 плюс припуски по всем срезам 2см. Таких обтачек нам нужно по одной на каждый карман (у меня было 4 кармана на бармалейских куртках, поэтому их 4). Можно дополнительно укрепить обтачку клеевой – на тонких плащевках, пальтовых тканях так и делаю. Мембрану дополнительно не укрепляю.
2.
Прикладываем нашу обтачку лицом к лицу к основной детали (к тому месту, где вы этот карман желаете видеть в готовом изделии) и строчим точно по линии разметки листочки (в моем случае строчка получилась в виде прямоугольника 2 на 13)
3.
Разрезаем, уголки рассекаем максимально близко к шву
4.
Выворачиваем обтачку на изнанку основной детали и хорошенько утюжим это дело (проверьте сначала на ненужном кусочке, какую температуру ваша ткань способна вынести, чтобы не спалить деталь кроя. Благодаря моему утюгу я могу себе позволить ооочень много, но мембрану и плащевки всё-таки ещё и через проутюжильник утюжу)
5.
Теперь готовим саму листочку – двойная ширина листочки плюс припуски по 2см. Листочку можно продублировать клеевой, сложить по длине пополам и приутюжить
6.
Листочку прикладываем к нашей рамочке – входу в карман так, чтобы край (там, где сгиб, а не открытые срезы) точно совпал с уголочками рамки. Закалываем булавками с трех сторон, чтобы не уехала (либо приклеиваем клеем-карандашом для текстиля – кому что доступно и ткань позволяет), отстрачиваем по периметру рамки на расстоянии примерно 0,2см.
7.
Теперь мешковина. К верхнему срезу кармана (там, где вход в карман) пришиваем мешковину из основной ткани – пришиваем четко на ширину кармана к обтачке, по возможности максимально близко к уже имеющимся швам.
8.
К нижней части кармана (там, где пришита листочка) пришиваем мешковину из подкладочной ткани, заутюживаем её вниз. Затем сшиваем вместе обе мешковины (форму мешковинам делаю на глаз) и срезаем лишнее – наш карман готов!
Совет:
Если нужен карман на молнии, то после п.4 вместо листочки прикалываем/приметываем/приклеиваем молнию и отстрачиваем по периметру, далее пп.7 и 8 – карман на молнии готов. Только не забывайте длину-ширину по молнии вымерить. Если молния должна быть скрыта за листочкой – то под листочку прикладываем молнию и отстрачиваем по периметру одним швом (на таком кармане обычно ширина листочки 1-1,5 см в зависимости от ширины молнии) Ну а вот карман в деле на бармалейских куртках (уже с переделанными рукавами) – такие карманы на принтованных вещах заметны только при движении, когда оттопыриваться начинают…
Видео по теме статьи
https://youtube.com/watch?v=iZmZ3M6toWg
Настрочная листочка — это листочка, с заранее обработанными краями.
Смотрите на картинке варианты формы такого кармана. Она может быть прямоугольной или фигурной. Перед тем, как притачивать такую листочку к изделию, её нужно заготовить.
Вариант 1. Складываем полоску ткани(заранее продублированную дублерином) пополам, лицом внутрь и стачиваем вертикальные края. Затем выворачиваем на лицевую сторону и выправляем уголки заготовки.
Во 2-ом и 3-м варианте выкраиваем 2 детали листочки, дублируем их с изнанки клеевым материалом и складываем лицевыми сторонами внутрь. Стачиваем, выворачиваем, выправляем уголки. Вымётываем косыми ручными стежками по краю, образуя кант из внешней детали листочки. Для этого нужно, чтобы эта верхняя деталь при раскрое была немного больше внутренней. И прокладываем отделочную строчку по краю внешней(лицевой) стороны листочки.
И для сравнения листочка с втачными краями. Её края мы не обрабатываем, а заготавливаем просто полоску ткани, продублированную и сложенную пополам, изнанкой внутрь.
Как выполнить карман с листочкой на молнии
Во многих изделиях листочка находится по соседству с застежкой-молнией. Все знают, как выполнить такие элементы отдельно. Однако их сочетание может завести их в тупик. Для того чтобы не появилось подобной неприятности, рекомендуем разобраться в таком способе детально.

Для работы вам потребуется: листочка, добавочная ткань для внутренней части и молния необходимой длины.
Процесс выполнения
- Нарисовать с лицевой стороны изделия рамку для работы.
- Выполнить компонент рейки так, как мы уже описали выше.
- Продублировать участок кармана добавочным материалом.
- Расположить в необходимом месте деталь рейки.
- Бережно притачать рейку к изделию.
- Ко обратной стороне притачать подходящий край молнии.
- Выполнить соединительный шов.
- Разрезать рамку.
- Вывернуть детали наизнанку и закрепить в необходимом положении с помощью английских булавок.
- Стачать молнию и листочку.
- Выполнить декоративную отстрочку кармана.
- Притачать к оставленным припускам внутренние детали кармана.
- Конструкция готова к применению.
С чем носить красные кроссовки мужские рекомендации
Для малоопытных мастериц, очень часто столкновение с подобными мелочами может стать роковым. После испытанной неудачи немногие решатся повторить попытку. Но применяя чужой навык, получиться избежать подобных неприятностей. А повторяя одну и ту же операцию пару раз, вы оттачиваете собственное мастерство, с каждым разом становясь все ближе к идеалу. По этому при неудачах не стоит опускать руки. Даже маститые профессионалы порой совершают ошибки. Просто воспринимайте это как данность, и удача улыбнется вам. Приятной творческой работы!
Виды листочки
Такая конструкция служит для обработки края кармана одежды, его усиления и декорирования. Листочка(планка) может быть прямоугольной или фигурной формы. По методу вшивания можно выделить два варианта листочки.
С втачными концами
Этот вид более прост в установке и поэтому лучше подходит для начинающих мастериц. При данном способе все швы остаются с изнаночной стороны. А неширокая планка проходит параллельно нижнему слою.

С настроченными концами
Он чаще всего применяется для верхней одежды. Визуально от первого эта вариация отличается внешними отделочными строчками с нескольких сторон. А также способом их изготовления. Такая планка зачастую имеет достаточную ширину для установки фиксирующего механизма: петли для пуговицы, кнопки и так далее.

ШЬЕМ, ШЬЁМ, ШЬЁМ… Прорезной карман в рамку
Тема сегодняшнего урока в нашем «классе мастериц» — обработка прорезного кармана «в рамку». Это одна из самых сложных операций и для начинающих, и для опытных портних. И сегодня тонкостями ее выполнения с нами поделится профессиональная швея — Наталья Тихомирова. Надеемся, многим ее мастер-класс поможет освоить искусство изготовления аккуратных прорезных карманов!
Прорезной карман «в рамку» или с двумя обтачками является одним из самых сложных операций в изделии, особенно на полосатой и сыпучей ткани. Приведенный в мастер-классе способ немного легче за счет того, что выкраивается не две а одна обтачка. Работа швеи оптимизирована и максимально экономит ваше время.
Тихомирова Наталья: «Мне 29лет живу в городе Острове. По профессии швея-мотористка, но мой стаж не велик — всего 5 лет, сейчас в декретном отпуске. Дочери 3 месяца. Надеюсь, маленькие секреты массового производства пригодятся и вашим читателям.»
- Заготовить лекало равное по ширине 2*высоту рамки, выкроить две мешковины и обтачку равную 4*высоту рамки+1см.
- Проклеить изнанку обтачки и изнаночную сторону изделия в месте будущего кармана.
- Оверложить одну из длинных сторон обтачки, разметить на лицевой стороне изделия линию приложения обтачки выше верхней линии будущего кармана на 1/2 высоты рамки и отметить длину кармана (пунктиром показано положение будущего кармана).
- Заутюжить обрезной край обтачки к центру лекала.
Обметанный срез заутюжить поверх, вынуть лекало. Проверить ширину получившейся обтачки.
- На изнаночную сторону изделия прикрепить булавками мешковину (верхнюю) лицевой стороной вверх на уровне отмелки с лицевой стороны.
Проложите сдерживающие строчки на расстоянии 1/2 высоты рамки от сгибов или выставьте на лапке с навесным кронштейном необходимое расстояние. Следите, чтобы с изнанки оверложенный край обтачки не попал под строчку.
- Накладываем обтачку к линии разметки на изделии, цельной стороной вниз, располагая припуски по боковым срезам симметрично рамке, чтобы оверложенный срез при отгибании был направлен к низу изделия.
- Проложите строчки по сдерживающим так, чтобы закрепки не выходили за пределы рамки.
- Вот что должно получиться на лицевой стороне.
С изнанки линия, проведенная между концами строчек, должна быть перпендикулярна самим строчкам. Если это не так, то дострачиваем или соответственно распарываем до нужной длины рамки одну из строчек.
- С изнанки прорезаем вход в карман посередине между строчками, начиная с центра в обе стороны, отогнув запасы шва на лицевой стороне.
- Не доходя до конца строчек 1-1,5см, разрез заканчивают наклонными рассечками до каждой строчки, не дорезая 0,1см до них.
- Изделие переворачиваем на лицевую сторону.
- Выворачиваем обтачки на изнаночную сторону через разрез.
Сводим вместе две обтачки. Выравниваем прямоугольник путем подтягивания обтачек. Если в уголках рамки образовались СИЛЬНЫЕ наклонные заломы, то необходимо вывернуть обтачки обратно и дорезать наклонные надсечки ближе к строчкам.
- Отгибаем изделие, выправляем уголки.
- Закрепляем уголки машинной строчкой.
- Закладываем на изнанку изделия мешковину (нижнюю) лицевой стороной вниз, совмещая срезы.
Отгибаем верхнюю часть мешковин и прокладываем строчку вплотную к шву притачивания верхней обтачки. Для удобства стачивание производят со стороны верхней мешковины.
Отгибаем нижнюю мешковину, оверложенный срез обтачки закрепляем на верхней мешковине, направляя шов посредине оверлочной строчки. Опускаем нижнюю мешковину обратно.
Соединяем обтачки и прокладываем временную строчку «в желобок» к шву притачивания нижней обтачки. Шов делаем без закрепок и на средней трети этого шва. Строчка нужна для дальнейшего удобства утюжки и обтачивания мешковин.
Отутюживаем готовое изделие. при необходимости временную строчку — удалите сразу.
- Источник
- А можно со змейкой:
Обработка кармана с листочкой
Для каждого вида обработка будет немного отличаться друг от друга, поэтому рассмотрим их по отдельности пошагово.
Вариация с настрочными краями
Для ее установки проводим подготовительные работы, как написано выше. Далее следуем изложенному ниже порядку действий.
- Заготовку планки укладывают открытым краем к линии прорезания кармана.
- Сверху помещают одну деталь внутренней части кармана.
- Прострачивают конструкцию, при этом начинают и заканчивают шов на уровне узких сторон листочки.
- Чуть выше линии разреза пристрачивают вторую внутреннюю часть.
- Разрезать карман.
- Внутреннюю часть заправить наизнанку.
- Соединить внутренние детали кармана.
- Выполнить отстрочку планки и кармана.
Вариация с втачными краями
Предварительный этап проводится тем же способом. Затем выполнить следующие действия.
- Листочку притачать к внутренней части кармана.
- Шов расправить и заутюжить.
- Пришить часть с листочкой и вторую внутреннюю часть по обеим сторонам разметки разреза.
- Выполнить разрезание ткани.
- Вывернуть детали кармана на изнаночную сторону.
- Расправить все элементы и сшить обе части, при этом закрепив концы листочки двойной строчкой.
- Отутюжить конструкцию.
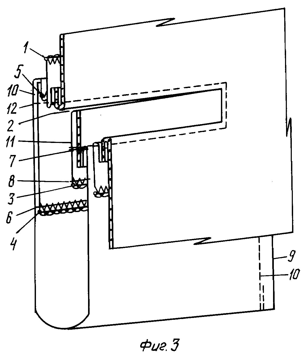
Прорезной карман с втачной листочкой
Прорезной карман в втачной листочкой используется в одежде классического стиля, особенно в жакетах и пальто, но в отличие от накладной листочки, требует некоторого опыта в шитье. Но «дорогу осилит идущий» и, надеюсь, что этот материал сподвигнет тех, кто еще боится прорезных карманов, хотя бы попробовать)))))
Разберем на примереверхнего кармана для платочка в классическом ЖАКЕТЕ, который я недавно сшила для дочери. Как я уже отмечала в предыдущем , прорезные карманы обрабатываются после обработки вытачек и рельефов, но до соединения боковых швов, поэтому, на момент обработки кармана полочка должна выглядеть как на фото1.

Для обработки этого кармана необходимо (фото2): — выкроить и обработать листочку, для втачной листочки я выкраиваю прямоугольник шириной, равной удвоенной ширине листочки в готовом виде и длиной входа в карман с припусками на швы. Деталь дублирую флизелином и приутюживаю, перегнув её вдоль пополам;— выкроить две мешковины: в толстых пальтовых и костюмных тканях — из подкладочной ткани, в более тонких тканях, как в моем случае, одна из мешковин может быть выкроена из основной ткани и потому заменяет подзор; — в остальных случаях выкроить подзор — эта деталь выглядывает в готовом кармане, поэтому её делают из основной ткани в виде прямоугольника шириной, равной ширине и длине листочки в готовом виде с припусками на швы 1−1,5 см по всем сторонам, если листочка наклонная, как в моем случае, то припуски по длине делают до 3 см; — выкроить из дублирующего материала (флизелин, дублирин) долевик шириной, равной удвоенной ширине готовой листочки, длина должна быть такой, чтобы каждый конец долевика выходил за готовую листочку на 4−5 см. Долевик (от слова долевая нить) предохраняет вход в карман от растяжения в процессе эксплуатации, а также стабилизирует ткань, что облегчает процесс обработки. Итак, приступим: 1.Наметить место расположения кармана четырьмя меловыми линиями: двумя длинными, равными длине готовой листочки, и двумя короткими, ограничивающими вход в карман. Для разметки использую исключительно обычные обмылки, на некоторых фото это видно.

2.Наметить на листочке линию притачивания, листочку приколоть, направляя её вниз, а затем притачать к полочке точно по размеченной линии.

3. Мешковину-подзор из основной ткани приколоть лицевой стороной к лицевой стороне полочки, направляя её вверх, а затем притачать точно по размеченной линии, с изнаночной стороны строчки должны быть равны и параллельны. Расстояние между строчками должно быть равно ширине листочки в готовом виде. Обязательно измерьте его ДО разрезания входа в карман!!!

4. Разрезаем вход в карман со стороны долевика точно посередине между строчками, к концам строчек на уголок, не доходя до конца строчек около 1 мм. При этом разрезаем только ткань полочки, не захватывая мешковины и листочки.
мешковину из подклада

6. Выворачиваем детали мешковины через прорезь на изнаночную сторону, оставив листочку с лица полочки, уголки выправляем.
Всем удачных пошивчиков и уверенности в себе!!!
Как выполнить карман с листочкой
При пошиве кармана с листочкой необходимо выполнить пару этапов.
Изготовление листья
В первую очередь делается сама деталь.
- Для этого из ткани вырезается прямоугольная заготовка. В большинстве случаев ее размеры равняются 20Х10 см.
- Перегибаем надвое деталь обратной стороной кверху.
ПВХ и полиэстер в чем разница материалов

Выворачиваем на лицо и хорошенько утюжим.
Внутренняя часть
Дальше готовим внутреннюю часть кармана. Для этого из дополнительного материала выполняем две заготовки. Для выкройки кладем к листу бумаги руку и обводим границу ладони.

После размечаем место размещения кармана.
- С лицевой стороны портняжным мелом отмечаем, где будет располагаться эта деталь.
- Измеряем длину готовой рейки.
- Чертим отрезок по размерам рейки.
После приступам к процессу монтажа конструкции. Рассмотрим детально, как это происходит.
Пошаговая технология обработки прорезного кармана с двумя обтачками и клапаном

Технология обработки прорезного кармана с двумя обтачками и клапаном
Из основной ткани выкроите детали клапанов и обтачек. Укрепите с изнаночной стороны клеевой прокладкой внешние детали клапанов карманов и все четыре детали косых обтачек (рис. 1).
ВАЖНО! На некоторых моделях пиджаков нижние детали клапанов кроят из подкладочной ткани. В данном примере все детали клапанов выкроены из основной ткани

Рис. 1. Детали клапана и обтачек
Сложите лицевыми сторонами укрепленные и неукрепленные детали клапана, сколите по нижнему и боковым сторонам и стачайте (рис. 2).

Рис. 2. Стачать детали клапана
Срежьте припуски близко к строчке, в местах скруглений высеките на уголок (рис. 3).

Рис. 3. Срезать припуски на клапане кармана
Выверните и чисто выметайте клапаны (рис. 4). В мастер-классе использованы красные нитки для наглядности, но лучше выметывать детали из светлых материалов белыми нитками (они не оставляют следов).

Рис. 4. Чисто выметать клапаны карманов
Наметочную нить на клапанах удалите. По контуру каждого клапана проложите отделочную бисерную строчку (по боковым и нижней сторонам) (рис. 5). Если вы не знакомы с таким видом ручного шва, посмотрите видео-мастер-класс, который размещен в конце этой статьи.

Рис. 5. Вспушная (бисерная) строчка на клапанах кармана
Детали обтачек перегните пополам, проутюжьте и слегка оттяните. Ширина обтачек в готовом виде равна 1,5 см (рис. 6).

Рис. 6. Детали обтачек
На полочке изделия разметьте вход в карман при помощи разметочных стеков или исчезающего маркера. Наложите обтачки на полочку срезами к линии разметки входа в карман и приколите или приметайте (рис. 7).

Рис. 7. Раскладка обтачек на полочке
Притачайте обтачки точно по центру, проложив строчки на ширину входа в карман (рис. 8). Ширина рамки кармана в готовом виде — около 1,5 см.

Рис. 8. Притачивание обтачек
С изнаночной стороны разрежьте вход в карман, не доходя 1 см до концов строчек — на уголок (рис. 9).

Рис. 9. Разрез по рамке
Отогните припуски обтачек на изнаночную сторону, сформируйте рамку и и проутюжьте (рис. 10).

Рис. 10. Проутюжить рамку
Чтобы стабилизировать и зафиксировать рамку, аккуратно отогните деталь полочки и по основаниям треугольников с обеих сторон рамки проложите фиксирующие строчки (рис. 11).

Рис. 11. Притачать основания уголков рамки
На клапане разметьте верхний припуск. Вложите клапан между обтачками, совместив по разметке, и зафиксируйте булавками (рис. 12).

Рис. 12. Вставить клапан в рамку кармана

Рис. 13. Мешковина из основной ткани
Отогните полочку вниз. Выкроите 4 мешковины кармана: 2 из основной ткани и 2 из подкладочной ткани. Ширина обеих мешковин должна быть равна ширине обтачек рамки, длина — 16-17 см. Совместите мешковину из основной ткани с верхним припуском клапана и обтачки и приметайте (рис. 13).
Переверните полочку на другую сторону, по верхнему припуску рамки приколите клапан булавками (к припуску верхней обтачки кармана) (рис. 14).

Рис. 14. Приколоть мешковину к верхней обтачке
Притачайте клапан и мешковину к припуску обтачки, строчку проложите точно в шов притачивания верхней обтачки (рис. 15).

Рис. 15. Притачать мешковину из основной ткани
Отогните притачанную мешковину из основной ткани вверх. Мешковину из подкладочной ткани совместите с нижним припуском обтачки. При этом обе мешковины должны быть направлены вверх от входа в карман (рис. 16).

Рис. 16. мешковина из подкладочной ткани
Приколите мешковину к припуску нижней обтачки (рис. 17) и притачайте мешковину. Строчку проложите точно в шов аналогично мешковине из основной ткани.

Рис. 17. Приколите мешковину к нижнему припуску рамки
Отогните обе мешковины вниз, совместите по припускам, подровняйте по всем сторонам (рис. 18).

Рис. 18. Подровнять припуски мешковин
Сметайте мешковины и стачайте по припускам боковых и нижней сторонам от основания треугольников (рис. 19).

Рис. 19. Стачать мешковины кармана
Обметывать мешковины не нужно, поскольку жакет полностью закрывается изнутри подкладкой. На рис. 20 показана мешковина кармана в готовом виде с изнаночной стороны изделия.

Рис. 20. Вид кармана с изнаночной стороны изделия
Клапан кармана в готовом виде показан в изделии на титульном фото и со стороны входа в карман — на рис. 21.

Рис. 21. Клапан кармана в готовом виде с нижней стороны
Еще больше профессиональных мастер-классов, выкроек и идей для творчества вы найдете на сайте Школы шитья Анастасии Корфиати
Чтобы не пропустить ничего важного и полезного, подписывайтесь на наши бесплатные уроки и шейте модную одежду вместе с нами!
Как выполнить карман-обманку с листочкой
Порой на конструкторском уровне модели одежды декораторы прибегают к очень интересному варианту декора. Это карман-обманка, который не имеет внутренней части и используется лишь как украшение.
Какие бывают разновидности пластиковых окон и что выбрать по стоимости

Процесс выполнения
- Выполнить разметку грядущего места расположения. Для этого проведите горизонтальную линию и по ней постройте рамку необходимого размера.
- После требуется закрепить материал. С обратной стороны приутюживаем отрез дублерин или флизелин, который станет выступал за контуры рамки на 1–1,5 см.
- Выполнить компонент листья.
- Выполнить деталь подзора. Для его изготовления берите отрезок ткани, длина которого равняется длине рейки, а ширина равняется четырем ширинам рамки.
- Закрепить деталь рейки и подзора дублирующим материалом с помощью утюга.
- Обработать края подзора.
- Рисуем по самому центру рамки линию и ложим на нее лицевой стороной вниз листочку.
- Приметать рейку к главной детали.
- Выполнить соединительный шов.
- Ложим подзор поэтому, чтобы выше линии пришивания расположилось две третьих материала.
- Выполнить разрез.
- Отвернуть наизнанку подзор.
- Прометать линию шва.
- Выполнить наметку подворота рейки.
- Отвернуть рейку по линии наметки на изнанку.
- Заутюжить место сгиба.
- Выполнить предварительную наметку контура.
- Выполнить облицовочную строчку.
Карман с втачанными концами
Шить прорезной карман с листочкой с втачными концами несложно. Для этого необходимо четко понимать последовательность действий, которые необходимо совершать в строго указанном порядке. Прорезной карман с листочкой шьется в определенной последовательности.
Карманы с листочками наиболее распространены в костюмах, брюках и верхней одежде. В связи с этим особенностью является то, что работать приходится с плотной тканью, сложенной в несколько раз.
Карманы различаются по направлению прорези: бывают наклонные, горизонтальные или вертикальные. По форме самой листочки карманы делятся на фигурные и прямоугольные.
Конструкции листочек также разнообразны — цельновыкроенные или с подкладкой. Расположение карманов может быть любым: боковые карманы или верхние.
Пошив (обработка) кармана с листочкой состоит из нескольких этапов:
- 1 этап: обработка листочки;
- 2 этап: обработка кармана;
- 3 этап: сборка кармана.
Обработка кармана с листочкой
Для любого вида обработка будет чуть-чуть различаться один от одного, по этому рассмотрим их отдельно поэтапно.
Вариация с настрочными краями
Под ее установку проводим работы по подготовке, как отмечено выше. Дальше следуем изложенному ниже порядку действий.
- Заготовку рейки кладут открытым краем к линии прорезания кармана.
- Сверху помещают одну деталь внутренней части кармана.
- Прострачивают конструкцию, при этом начинают и завершают шов на уровне нешироких сторон листья.
- Немного больше линии разреза пристрачивают вторую внутреннюю часть.
- Разрезать карман.
- Внутреннюю часть заправить наизнанку.
- Объединить внутренние детали кармана.
- Выполнить отстрочку рейки и кармана.

Вариация с втачными краями
Подготовительный этап проходит тем же способом. После выполнить следующие действия.
- Листочку притачать к внутренней части кармана.
- Шов расправить и заутюжить.
- Пришить часть с листочкой и вторую внутреннюю часть по обоим сторонам маркировки разреза.
- Выполнить разрезка ткани.
- Вывернуть детали кармана на изнанку.
- Расправить все детали и пошить две части, при этом закрепив концы листья двойной строчкой.
- Отутюжить конструкцию.

Как сделать карман-обманку с листочкой
Иногда при конструировании модели одежды дизайнеры прибегают к очень интересному варианту декора. Это карман-обманка, который не имеет внутренней части и применяется только как украшение.

Процесс выполнения
- Выполнить разметку будущего места расположения. Для этого проведите горизонтальную линию и по ней постройте рамку нужного размера.
- Затем требуется укрепить материал. С изнаночной стороны приутюживаем отрез дублерин или флизелин, который будет выступать за контуры рамки на 1–1,5 см.
- Выполнить элемент листочки.
- Выполнить деталь подзора. Для его изготовления возьмите отрезок ткани, длина которого равняется длине планки, а ширина равняется четырем ширинам рамки.
- Укрепить деталь планки и подзора дублирующим материалом при помощи утюга.
- Обработать края подзора.
- Рисуем по центру рамки линию и укладываем на нее лицевой стороной вниз листочку.
- Приметать планку к основной детали.
- Выполнить соединительный шов.
- Укладываем подзор таким образом, чтобы выше линии пришивания находилось две третьих материала.
- Выполнить разрез.
- Отвернуть наизнанку подзор.
- Прометать линию шва.
- Выполнить наметку подворота планки.
- Отвернуть планку по линии наметки на изнаночную сторону.
- Заутюжить место сгиба.
- Выполнить предварительную наметку контура.
- Выполнить отделочную строчку.
Мастер-класс по созданию кармана для женской юбки
На примере создания кармана для женской юбки рассмотрим, как сшить карман прорезной в рамку:
- В первую очередь копируется прямоугольник будущего размещения прорезного кармана на изнаночную сторону ткани. После этого рисуется горизонтальная линия в середине проема и добавляются линии клипов.
- Вырезается карман нужных размеров. Для женщин можно использовать следующие размеры: ширина – 11 см, высота – 18,5 см. Девочкам подойдут: ширина – 14 см, высота – 28,5.
- Копируется верхняя линия проема. Для этого продеваются две булавки в верхнюю линию прямоугольника, потом поворачивается ткань и соединяются обе стороны для того, чтобы скопировать эту линию. Рисуется параллельная линия на 3,5 см выше первой.
- Для определения середины прорезного кармана можно опять использовать тот же прием. Вставляется булавка в изнаночную сторону ткани. Разворачивается и копируется эта же линия на лицевую сторону ткани.
- К правой стороне ткани крепится карман.
- Пришиваются две горизонтальные линии к нарисованному прямоугольнику. Обе линии должны быть одинаковой длины. Начало и окончание шитья производится в одном и том же горизонтальном положении.
- С помощью этих линий делается прямоугольное отверстие. При выполнении этой операции нужно быть предельно точным, так как от этого зависит внешний вид будущего кармана.
- Вырезаются линии, нарисованные ранее, так, чтобы получился прямоугольный проем.
- Через отверстие вытягивается карман по направлению к спине.
- Необходимо нажать. В результате должен получиться прямоугольник правильной формы.
- Далее отрезается 2 мм верхнего и нижнего края новых краев, которые не были обработаны. Это позволит компенсировать толщину ткани при создании кармана.
- Верхняя часть скроенной ткани и карман складываются вниз. Потом снова загибается вверх. Край ткани должен располагаться посередине на расстоянии 7,5 мм от края.
- Необходимо повторить такой же порядок действий и для нижней части.
- Прострачивается вокруг кармана на расстоянии 2 мм от прямоугольного отверстия.
- Нужно перевернуть ткань и сложить клапан вдвое, чтоб получился карман. Боковые и верхние края закрываются при помощи прострочки на ширине прижимной лапки.
- Карман готов.
Как своими руками правильно пошить прорезной карман с листочкой
1.Берем готовое изделие и с изнанки размечаем место будущего кармана мелком или карандашом.
2.Выкраиваем 2 мешковины кармана длиной около 20см. Ширину мы выбираем сами, добавляя с каждой из сторон по 3-4см на обработку.
3.Используя наметочные стежки или булавки, переносим карманный контур на лицевую сторону. Ширина листочки, как правило, бывает 2см. Длину одной из мешковин нужно сделать на 4см больше другой (это и будет листочка).
4.Отгибаем край длинной мешковины и делаем листочку лицевой стороной вверх, делаем намет.
5.Затем выворачиваем наизнанку и шьем аккуратные строчки во всем сторонам рамки уже на швейной машинке. Рамку сгибаем посередине и делаем надрез, показанный на рисунке.

6.Выворачиваем мешковину наизнанку, выметываем и утюжим.
7.Следом мешковину нужно отогнуть вверх.
8.С нижней стороны рамки отступаем 2см, перегибаем мешковину и утюжим, складка закладывается наверх.

9.Скалываем по бокам мешковину булавками и сшиваем фиксирующими строчками обе стороны. Для этого мешковину нужно отвернуть и прошить основания намеченных треугольников.
10.Сверху накладываем вторую мешковину и скалываем их.
11.Сшиваем обе мешковины и используем для припусков оверлок.
Готовый карман с листочкой с втачными концами изображен на фото ниже.
Прорезной карман с листочкой. Построение
- В предыдущих публикациях блога я рассказывала как обработать прорезной карман “в рамку”, накладные карманы, карман наоборот, а сегодня речь пойдет о прорезном кармане с листочкой.
- Сначала мы научимся строить детали для выполнения этого вида кармана, а дальше узнаем последовательность обработки.
- Прорезной карман с листочкой.
Этот вариант прорезного кармана в изделиях встречается очень часто. Карманы с листочкой по способу соединения с основной деталью могут быть с втачной или настрочной листочкой.
ВАЖНО: для обработки любого из этих карманов нужны следующие детали –
- Листочка;
- Верхняя мешковина;
- Нижняя мешковина.
Рассмотрим раскрой и обработку прорезного кармана с втачной листочкой.
Размеры кармана могут быть различными в зависимости от модели, назначения, размера и вашего желания, но чаще всего длину входа в карман принимают 14-16 см., а ширину листочки – 2,5 – 3 см.
Если вы самостоятельно создаете модель изделия, то местоположение и размер кармана устанавливается на примерке. То есть, определяется длина хода в него, ширина листочки и наклон, если он есть.
Если вы используете готовую выкройку, то следуйте инструкции к модели, где обычно местоположение кармана уже указано.
После определения размера кармана, нужно построить выкройки всех деталей с припусками на ширину швов.
Построение выкроек.
Для построения выкройки листочки вычертить прямоугольник АБВГ, стороны которого равны принятым размерам длины линии входа в карман (_АБ) и ширины листочки (АВ)
К линии ВГ слева причертить второй прямоугольник ВГДЕ – нижнюю сторону листочки, равный по размерам первому прямоугольнику.
Затем по контуру всей детали причертить припуски на обработку и ширину швов.
Для построения мешковины вычертить рамку кармана по размерам листочки в готовом виде (АБВГ)
После этого от руки или по лекалу пририсовать контур мешковины.
Раскрой.
По полученным выкройкам раскроить детали на ткани, соблюдая направление долевой нити.
На выкроенной листочке мелом или нитками наметить линию сгиба (ВГ на чертеже)
По выкройке мешковины выкраивают сразу две детали – верхнюю и нижнюю мешковины, сложив ткань в два слоя лицевой стороной внутрь.
На каждой мешковине наметить линию входа в карман.
Данный способ построения не подходит для карманов с горизонтальной или наклонной линией входа.
При построении деталей прорезного кармана с листочкой с горизонтальным или наклонным расположением линии входа, есть некоторые особенности, которые необходимо учитывать.
Подробнее об этих и других особенностях, я обязательно расскажу немного позже. А в следующем выпуске о том, как обрабатывать прорезной карман с втачной листочкой.
С пожеланиями удачи, Елена Красовская https://shjem-krasivo.ru/

























































